Environment

Tesla obtains patent for Cybertruck’s novel windshield

Tesla has obtained a patent for a new way to make glass that is evidently going to be used for Cybertruck’s novel windshield.

There are a lot of things about the Cybertrucks that are unlike any other vehicle out there.

The whole idea behind the radical design is that pickup truck designs have remained roughly the same for the last 30 years and Tesla believes it can create something new that will break the cycle.

One of the most novel and infamous features of the Cybertruck’s design is its “Tesla Armor Glass.”

It was made infamous by the failed demonstration on stage during the unveiling of the electric pickup truck:

For years, Tesla has been heavily investing in material science, which includes glass.

We previously reported on the Tesla Glass division working on developing new types of glass for its products.

For the Cybertruck, the company describes the “Tesla Armor Glass”:

Ultra-strong glass and polymer-layered composite can absorb and redirect impact force for improved performance and damage tolerance.

But what’s interesting about the glass on the Cybertruck is that it follows the vehicle’s sharp feature lines.

Now Tesla has obtained a new patent to manufacture glass that can be manipulated to create novel shapes that traditionally can’t be achieved in normal automotive glass manufacturing.

In the patent application, Tesla describes issues with current methods:

Generally, such processes for making glass structures are limited by the amount of curvature or bending achievable with the glass. For example, typically only smooth, high radius of curvatures (e.g., radius of curvature of 1-3 meters or more), are used for automotive glass structures.

Tesla describes its technology to achieve shorter radiuses of curvature:

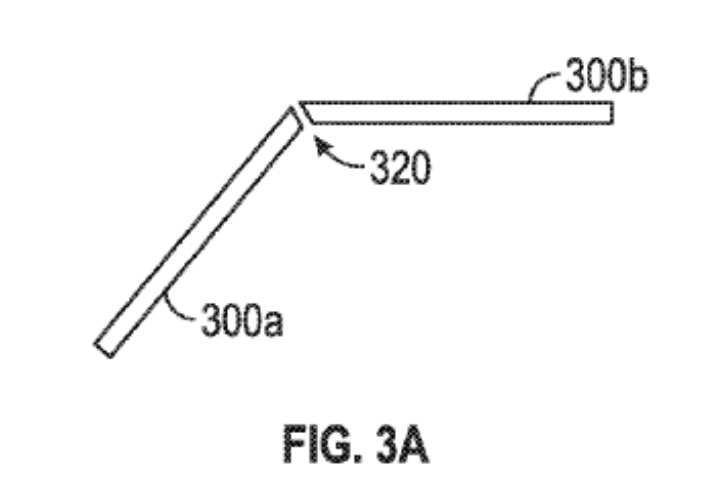
In some embodiments, a process for forming an automotive glass structure having one or more feature lines (or curves/bends) includes applying localized heat to one or more locations of the glass structure, whereby the glass structure bends at the location of the localized heat. In some examples, the glass structure is supported by a support tool such that as localized heat is applied gravity forces the glass structure to bend at the one or more locations (e.g., along a longitudinal line of the glass), thereby forming a feature line or bend in the glass. In some examples, additional forces may be applied to the glass structure, e.g., via a press, vacuum air suction, or the like to aid in bending or shaping of the glass structure. In some examples, a radius of curvature of the feature line or bend in the glass structure at the one or more locations is between 2 mm and 5 cm.

Here are a few drawings included in the patent application:

In the patent application, Tesla also describes a way to achieve the same result with multilayered glass:

In another embodiment, a glass structure includes a first layer of glass having a feature line or bend in at least one location thereof. The feature line having a radius of curvature between 2 mm and 5 cm. In some examples, the glass structure is a multilayer glass structure and includes a second layer of glass including a first portion of glass and a second portion of glass, the first and second portions meeting at the feature line or bend in the first layer of glass. A polymer may be disposed between the first layer of glass and the second layer of glass.

Here’s a drawing illustrating a multilayered glass with that level of curvature:

This specific drawing would point to the wrap-around windshield in the Tesla Semi, but Tesla actually shares drawings of the Cybertruck as examples in the patent application.

Tesla is currently working to bring the Cybertruck to production by mid-2023.

FTC: We use income earning auto affiliate links. More.

You may also like

Environment

Putin attempts to undermine oil price cap as global energy markets fracture

  • December 28, 2022
Russia’s announcement of an oil export ban on countries that abide by a G-7 price cap is the latest sign
Environment

European natural gas prices return to pre-Ukraine war levels

  • December 29, 2022
A worker walks past gas pipes that connect a Floating Storage and Regasification Unit ship with the main land in